|
UHC-517C是最常用的側裝式磁翻板液位計/磁性浮子液位計,適用于工作壓力≤6.4MPa,工作溫度≤480℃的液體介質的液位測量。 |
|
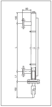
測量范圍:(300~15000)mm
|
|
(兩個法蘭中心距離)
|
|
工作壓力:≤6.4MPa
|
|
工作溫度:≤480℃
|
|
介質密度:(0.45-2.0)g/cm3
|
|
法蘭標準:HG20592-20635-97
|
|
其它法蘭標準請用戶注明
|
|
材質:普通型:不銹鋼304 316L
|
|
浮子:304 316L
|
|
其它材質要求請用戶注明
|
|
連接方式:旁路側面安裝法蘭
|
|
DN
|
20
|
|
PN
|
0.6
|
1.0
|
1.6
|
2.5
|
4.0
|
6.4
|
|
可選項
|
|
UHC-517C-
|
|
|

|
D 輸出(4~20)mA二線制變送器
|
|
□液位開關:C,E,F任選
|
|
Q 本安型,ibIICT5
|
|
B 隔爆型:dIIBT5
|
|
T 配隔離安全柵
|
|
M 電伴熱裝置
|
|
A 配光柱顯示儀表(豎式)
|
|
B 配光柱顯示儀表(橫式)
|
|
□工作壓力 MPa
|
|
□介質密度 g/cm3
|
|
□測量范圍 L=mm
|
|