






Break the routine, meet more customer requirements, customized for clients of various kinds of non-standard type flowmeter, it is a kind of ability, is also a kind of attitude.Let the customer buy satisfied products, let customers get the perfect service that is our attitude.
Summary:
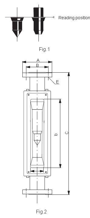
FA24 series glass tube flowmeter is designed and product by international advanced technology and equipment,the quality and performance are advanced in the world,featured with high accuracy,special design,the adjustable flange connection easy for installation.Change taper tube and float easily without move the flowmeter out of pipeline.
Outline and Installation Size:


Technical Parameter:

Notes:
1.The pressure of the medium in the flowmeter, for the liquid shall be at least two times of the pressure loss;for the gas must be exceed 5 times of pressure loss.
2.Accuracy class 1.5 can be ordered in special.
3.The maximal flow of corrosion resistant PTFE floater is one class lower than the conventional type.
All Stainless Steel Design FA24-()B/BF
FA24-()B0/B0F
Material of flange、floater、guide rod、bearing plate and bolts are stainless steel 304(1Cr18ni9Ti ),model is of FA24-( )B.
If Choosing touching material SS316,the model should be FA24-( )B0,which can be ordered as required.
If Choosing stainless steel with PTFE lining,the model should be FA24-( )BF(SS316 is B0F) which can be ordered in special.
The development of instrument and meter industry, instrument and meter industry technical breakthroughs cannot leave the instrument manufacturer's support and effort.CHENGFENG FLOWMETER as a flow meter manufacturer, we study hard, and new technology, the introduction of advanced equipment, research and development more technology, meet the needs of more customers. Also has been gradually put into feng flowmeter products sold to foreign countries, widely popular among customers.

FA24 parts material

Notes: If the medium is organic solvent,please note in ordering.
CHENGFENG FLOWMETER for 30 years, has been in the study and progress, learning advanced foreign instrumentation equipment and technology, the introduction of advanced technology, and then based on the research and development of new technology, combined with the requirements of customers innovative products that meet customer needs, meet the requirements of customers, the pursuit of perfect quality, technical breakthroughs.